产品目录  
     
SC标准气缸系列
SCD标准双轴系列
SCJ标准双轴可调系列
MAL铝合金迷你缸系列
SDA(QGY)超薄型气缸系列
MOB、HOB液压缸系列
SOB、ROB液压缸系列
HSG工程液压缸系列
Y-HG1冶金液压缸
DG车辆用液压油缸系列
NHS系列转角夹具油缸
薄型油缸系列
重型油缸系列
CD/CG250、CD/CG350重载液压缸
 

 
  产品展示 >> SC锟斤拷准锟斤拷锟斤拷系锟斤拷 >> SC锟斤拷准锟斤拷锟斤拷系锟斤拷 共有 0 个产品
 

SC标准气缸系列 更多详情请点击下列系列分类进入!

气缸理论输出力 SC标准气缸系列 SCD标准双轴系列 SCJ标准双轴可调系列
SCT多位标准缸可调系列 标准气缸系列附件 QGB、QGA普通气缸系列 SG2Y气液增压缸系列

 

规格

内径(mm) 32 40 50 63 80 100
动作型式 复动型
使用流体 空气
固定型式 基本型 FA型 FB型 CA型 CB型 LB型 TC型 TC-M型
使用压力范围kgf/cm2 0.4∽9.0
保证耐压力kgf/cm2 13.5
使用温度范围 0∽70
使用速度范围mm/s 50∽80
缓行型式mm 20 26
接管口径 G1/8 G1/4 G3/8 G1/2

气缸行程

内径
(mm)

标准行程

最大行程 容许行程
32 25 50 75 100 125 150 175 200 225 250 300 350 400 450 500 1000 2000
40 25 50 75 100 125 150 175 200 225 250 300 350 400 450 500 600 700 800 1200 2000
50 25 50 75 100 125 150 175 200 225 250 300 350 400 450 500 600 700 800 900 1000 1200 2000
96 25 50 75 100 125 150 175 200 225 250 300 350 400 450 500 600 700 800 900 1000 1500 2000
80 25 50 75 100 125 150 175 200 225 250 300 350 400 450 500 600 700 800 900 1000 1500 2000
100 25 50 75 100 125 150 175 200 225 250 300 350 400 450 500 600 700 800 900 1000 1500 2000

订购码

举例说明

1)欲订购缸径为50mm,行程为100mm,附磁,采用TC固定型式的标准复动型(拉杆式)气缸,其正确的订购码代码为:SC-50X100-S-TC.
2)欲订购缸径为63mm,行程为150mm,附磁,采用LB固定型式的标准复动型(拉杆式)气缸,其正确的订购码代码为:SC-63X150-S-LB.


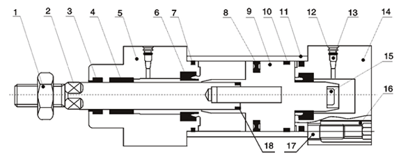
内部结构

序号 名称 序号 名称
1 螺母 2 活塞杆
3 前盖密封圈 4 含油轴承
5 前盖 6 缓行O环
7 管壁O环 8 活塞O环
9 活塞 10 耐磨环
11 本体 12 缓行防漏O环
13 缓行调整螺丝 14 后盖
15 内六角螺栓 16 支柱螺帽
17 支柱 18 活塞杆O环

主要零件材质

内径 32 40 50 63 80 100
本体 铝合金
活塞 铝合金
活塞杆 高碳钢(镀硬铬研磨处理)
前盖密封圈 NBR
活塞O环 NBR
管壁O环 NBR
活塞杆O环 NBR
防漏O环 NBR
含油轴承 含油粉末治铜
前盖 铝合金
后盖 铝合金布
产铁 塑料

 

内径 32 40 50 63 80 100
LB支架 低碳钢
FA支架 铸铁
FB支架 铸铁
CA支架 铸铁
CB支架 铸铁
TC支架 铸铁
TC脚架 铸铁
内六角螺丝 中碳钢
支柱 低碳钢
支柱螺丝 低碳钢
耐磨环 POM
缓行螺丝

O型一览表

  前盖密封圈 活塞O环 管壁O环 活塞杆O环 缓动O环 防漏O环
内径/数量 1 1 2 2 2 2
32 PDU-12 APA-32 27.5X2 1.3X9 CTU-15 1.5X5.5
40 PDU-16 APA-40 34.5X2 1.5X12 CTU-20 1.5X5.5
50 PDU-20 APA-50 45.5X2 1.5X15.5 CTU-28 1.5X5.5
63 PDU-20 APA-63 55.5X2 1.5X15.5 CTU-28 1.5X5.5
80 PDU-25 APA-80 74.5X2 2.4X19.8 CTU-35 1.5X5.5
100 PDU-25 APA-100 94.5X2 2.4X19.8 CTU-35 1.5X5.5

基本尺寸

Φ32-Φ100

内径/符号 A B C D E F G H I J K L
32 140 47 93 28 32 15 27.5 22 17 6 M10X1.25 M6X1
40 142 49 93 32 34 15 27.5 24 17 7 M12X1.25 M6X1
50 150 57 93 38 42 15 27.5 32 23 8 M16X1.5 M6X1
63 153 57 96 38 42 15 27.5 32 23 8 M16X1.5 M8X1.25
80 183 75 108 47 54 21 33 40 26 10 M20X1.5 M10X1.5
100 189 75 114 47 54 21 33 40 26 10 M20X1.5 M10X1.5

 

内径/符号 M N O P Q R S T V W
32 9.5 13.75 G1/8" 3.5 7.5 7 45 33 12 10
40 9.5 13.5 G1/4" 6 8.2 9 50 37 16 14
50 9.5 13.5 G1/4" 8.5 8.2 9 62 47 20 17
63 9.5 13.5 G3/8" 7 8.5 8.5 75 56 20 17
80 11.5 16.5 G3/8" 10 9.5 14 94 70 25 22
100 11.5 16.5 G1/2" 11 9.5 14 112 84 25 22

 

地址:永嘉县乌牛镇河口埭西路32号电话:0577-67305800  传真:0577-67308565  技术支持及维护:网联信息技术有限公司